服务热线:133 6655 6600
发布内容
当前位置: 现代供热网 技术交流 正文

中继加压泵站水力计算与水压图

262 2025-11-14

当供热区域地形复杂、供热距离很长,或因原有热水网路扩建等原因,如只在热源处设置网路循环水泵和补给水泵,往往难以满足网路和大多数用户压力工况的要求。在此情况下,传统的解决方案,要在网路供水或回水管上设置网路中继加压泵站,有时甚至需要设置两个或两个以上的补水定压点,才能使其压力工况满足要求。


图1(a)是一个供热距离很长的网路。由于供热距离过远,网路后部的回水干管的动水压曲线过高(见图中虚线所示),会使后部的用户承受超过散热器所能承受的压力。如在网路回水干管上设置回水加压泵站,就可使后部用户承受的压力降低到允许范围内 (见图中实线所示)。

图1  中继加压泵站的设置


图1(b)是原有热水网路扩建的例子。由于扩建接入了许多用户,网路流量增大。在管径不改变的情况下,网路的动水压曲线坡度增加,后部用户的资用压头和流量就显得不足了。这可根据具体情况,在供水干管、回水干管,或者在供、回水干管上设置加压水泵来解决。图1(b)中虚线表示原有的网路水压图。实线表示在供水干管和回水干管都设置加压水泵,并扩大了供热范围的水压图。

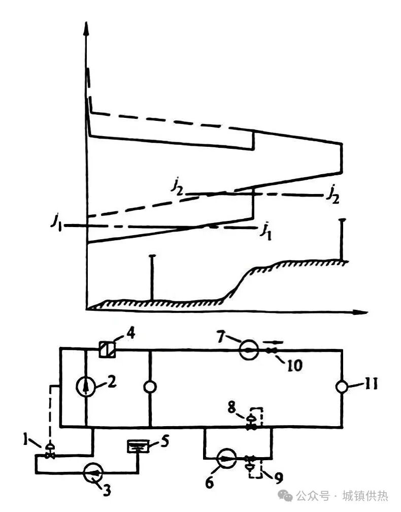
图2  地形高低悬殊、热源在高处时,设置中继加压泵站的示意图

1一补水压力调节阀;2—网路循环水泵;3一补给水泵;4—加热装置(锅炉或换热器);5一补给水箱;6一自动截断阀门;7—止回阀;8—中继回水加压泵;9—补水调节阀;10—热用户


图2是一个地形高低悬殊,热源位于高处的例子。如果不在网路回水干管上设置加压水泵。网路的动水压曲线将如图中虚线所示。在网路后部,位于低处的用户、将承受很高的压力,甚至超过散热设备的承压能力,图中实线表示在网路回水干管上设置了加压水泵的动水压曲线。


在地势高低悬殊的场合,当网路循环水泵和加压泵停止运行时,网路的某些区域很有可能出现超压(如本图例中将在网路后部出现)。需要采取措施,立即将网路截断为两个区域,维持不同的水静压线。在图3的例子中,靠在供水干管上设置自动截断阀门6和在回水干管上设置止回阀7来实现。当网路循环水泵2和回水加压泵8停止运转时,网路后部的回水干管压力升高,当到达j₂-j₂静水压线的压力时,自动截止阀门6关闭和回水管上的止回阀7一起保护网路后部的用户免受前面网路高水静压力的直接作用,将网路分成了压力状况不同的两个区域。前面网路的水静压力j₁-j₁,靠热源的补给水泵3和补水压力调节阀1的作用来保证。后面网路的水静压线j₂-j₂,靠通过补水调节阀9节流降压来保证。


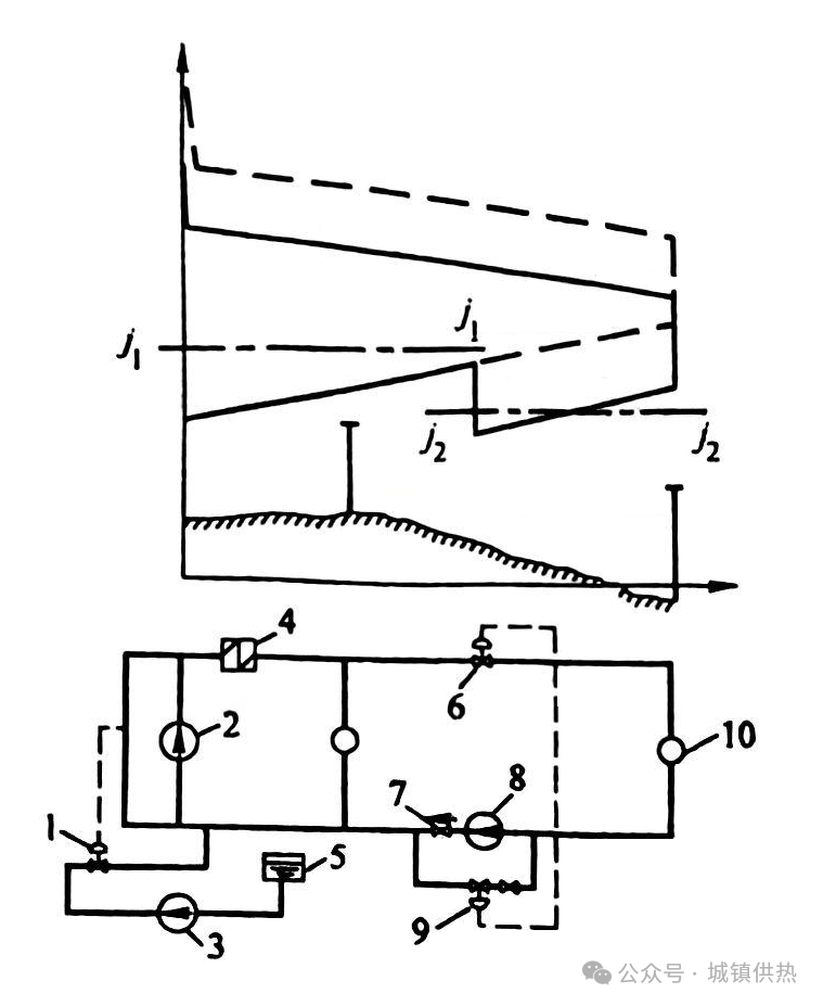
图3是一个地形高低悬殊、热源位于低处的例子。图中虚线表示没有在供水干管上设置加压水泵的水压图。此时,供水干管出口处压力高,前面网路回水管动水压曲线也很高,有可能使前面网路的用户超压。如在供水干管上设置加压水泵,同时,顺着地势特点,在回水管上设置“阀前”压力调节器8,则其动水压曲线将如图上实线所示。

图3  地形高低悬殊、热源在低处时,设置中继加压泵站的示意图

1~5—同图2;6—泵站补给水泵;7—中继供水加压泵;8—"阀前"压力调节器:9—泵站补水压力调节阀;10—止回阀;11—热用户


在供水干管上设置加压水泵,可降低热源出口供水管的压力;同时,通过加压水泵增压,同样可以保证后部网路的高温水不汽化。“阀前”压力调节器起着节流、降低前部网路回水管压力的作用。在网路循环水泵和加压水泵停止运转时,同样需要将网路截断为两个区域,维持不同的水静压线。供水干管上的止回阀10起着保护前面用户免受后面网路的高水静压线的作用。又由于回水干管压力下降,当压力下降到静压力线j₂-j₂的位置时,“阀前”压力调节器8自动关闭。从而实现了将网路分成压力状况不同的两个区域的目的。前面网路的静水压线j₁-j₁,靠热源的补给水泵3和补水调节阀1来保证。后面网路的静水压线j₂-j₂,靠泵站补给水泵6和补水调节阀9来保证。泵站补给水泵6的扬程应为j₂-j₂与j₁-j₁两条静水压线之间的差值。


图4是利用太原市古交电厂抽汽和乏汽对太原市进行集中供热的太古长输管线中继泵站及其水压示意图。从古交电厂至太原市城区周边隔压站单程管线长度37.8km,复线DN1400管道,即2根供水管道、2根回水管道。古交热电厂在高处,高出隔压站180m,且沿途地势起伏较大,地形复杂,为了控制管网设计压力在2.5MPa范围内,沿途建设了四座中继泵站,总计5组加压泵串联。其中1号、3号和隔压站等加压泵组都安装在回水管道上,2号中继泵站有两组加压泵,分别安装在供、回水管道。把热源首站循环泵计算在内,该长输管线总共6组泵串联运行。


图4  太古长输管线中继泵站及其水压示意图组

1—1号中继泵站;2—2号中继泵站;3—3号中继泵站;4—隔压站中继泵站;5—首站循环泵;6 —电厂首站换热器;7—隔压站换热器;8—市区一级网循环泵


在网路循环水泵和加压水泵停止运转时,系统静压没有分段,维持一条水平线,满足最低点不超压2.5MPa,最高点不汽化等要求。

声明:本站文章来源转载仅供参考学习,转载内容合法性不承担保证责任,但将依法配合处理侵权纠纷,转载内容版权归原作者所有,本站已尽力标注来源,若有疏忽请联系更正,如果有侵权请联系我们24小时之内删除13366556600

热线电话
133 6655 6600
热线电话 微信咨询
回到顶部 回到首页